Professionals
GROHE
Discontinued

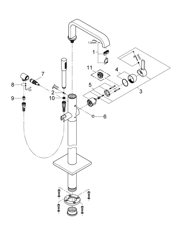
Ohm Bath Freestand.

Model: 32755001
List price: $2,756.00

Compare Products

Products
Color/Finish
List Price