CA
US
Professionals
GROHE
GROHE
Main Menu
Bathroom
GROHE
Back
Bathroom Menu
Bathroom Products
Bathroom Faucets
Showers
Tub Faucets
Toilets
Bathroom Sinks
Smart Home
Bathroom Accessories
Back
Bathroom products
Bathroom Faucets
Back
Bathroom faucets
Single Hole
Centerset
Vessel
Widespread
View All
Showers
Back
Showers
Thermostatic Trims
Diverter Trims
Pressure Balance Trims
Shower Systems
Shower Heads
Hand Showers
Shower Slide Bars
Accessories
Body Sprays
Rough-In Valves
Tub Faucets
Back
Tub faucets
Freestanding
Deck Mount
Tub Spouts
View All
Toilets
Back
Toilets
Toilets
Toilets Seats
Wall Carriers
Wall Plates
Bathroom Sinks
Back
Bathroom sinks
Undermount Sinks
Wall Mount Sinks
View All
Smart Home
Back
Smart home
GROHE Sense & Sense Guard
Bathroom Accessories
Back
Bathroom accessories
Towel Bars
Towel Rings
Robe Hooks
Toilet Paper Holders
Toilet Brushes
Soap Dispensers & Holders
Grab Bars
Bath Accessory Sets
View All
Explore Cubeo
Design Ideas
Collections
Bath
Shower
Accessories
View All
Back
Collections
Bath
Back
Bath
Bauloop
Concetto
Cubeo
Essence
Eurocube
Eurosmart Cosmopolitan
Lineare
Plus
Shower
Back
Shower
Euphoria
Euphoria Cosmopolitan
Euphoria Cube
Euphoria SmartControl
GrohSafe 3.0 PBV
GrohTherm-1000
GrohTherm SmartControl
Rainshower Cosmopolitan
Rainshower F-Series
Rainshower Smartactive
Retro-fit
Tempesta
Accessories
Back
Accessories
Essentials
Essentials Cube
Selection
Selection Cube
View All
Explore Cubeo
Design Ideas
GROHE SPA
Allure
Atrio
Rainshower Aqua
Sena
Back
Grohe spa
Allure
Atrio
Rainshower Aqua
Sena
Explore Cubeo
Design Ideas
Where to Buy
Find a Showroom
Kitchen
GROHE
Back
Kitchen Menu
Kitchen Products
Kitchen Faucets
Kitchen Water Systems
Kitchen Accessories
Back
Kitchen products
Kitchen Faucets
Back
Kitchen faucets
Touchless
Pull-Down
Pull-Out
Semi-Pro
Bar
Pot Fillers
View All
Kitchen Water Systems
Back
Kitchen water systems
GROHE Blue
Filters & Accessories
Kitchen Accessories
Back
Kitchen accessories
Soap Dispensers
Modern
Contemporary
Collections
Concetto
Essence
Eurocube
Eurosmart
GROHE Blue
GROHE Zedra
K7
Minta
Minta Touch
View All
Back
Collections
Concetto
Essence
Eurocube
Eurosmart
GROHE Blue
GROHE Zedra
K7
Minta
Minta Touch
View All
Modern
Contemporary
Where to Buy
Find a Showroom
Design Inspiration
GROHE
Back
Design inspiration Menu
Events & Partnerships
World Architecture Festival 2025
WAF Roadshows 2025
GROHE x Cristian Siriano
ICFF 2025
Ascaya Vista Serena Showcase Home
Glasshouse Interview with Shigeru Ban
View All
Back
Events & partnerships
World Architecture Festival 2025
WAF Roadshows 2025
GROHE x Cristian Siriano
ICFF 2025
Ascaya Vista Serena Showcase Home
Glasshouse Interview with Shigeru Ban
View All
Grotherm SmartControl
GROHE Blue Chilled & Sparkling
Design Trends
Bathroom Design Trends
Kitchen Design Trends
Back
Design trends
Bathroom Design Trends
Kitchen Design Trends
Grotherm SmartControl
GROHE Blue Chilled & Sparkling
Visualizer
Where to Buy
Find a Showroom
Parts & Support
GROHE
Back
Parts & support Menu
Help
Help
FAQS
Register & Warranty Info
Returns
Shipping & Deliveries
Customer Care
Back
Help
Help
FAQS
Register & Warranty Info
Back
Register & warranty info
Register Warranty
Warranty Info
Returns
Back
Returns
How to Return
Shipping & Deliveries
Customer Care
Back
Customer care
Contact Us
Parts Store
Parts Store
Bathroom Parts
Kitchen Parts
Commercial Parts
Back
Parts store
Parts Store
Bathroom Parts
Back
Bathroom parts
Bathroom Parts Store
Kitchen Parts
Back
Kitchen parts
Kitchen Parts Store
Commercial Parts
Back
Commercial parts
Commercial Parts Store
Resources
About GROHE
For Professionals
Back
Resources
About GROHE
Back
About grohe
About GROHE
For Professionals
Back
For professionals
Builder Program
Case Studies
Enjoy More Rewards
Price Book
Where to Buy
Find a Showroom
Where to Buy
Find a Showroom
Search
Find a Showroom
Shopping cart
1
Seabury
Mini Wideset
Seabury
Compare
Discontinued
Discontinued
Discontinued
Seabury®
View Collection
Mini Wideset
Model:
20122BE0
List price:
$310.00
List price:
$310.00
List price:
$310.00
Add
Where to buy
Product Overview
Resources
Spec Sheet
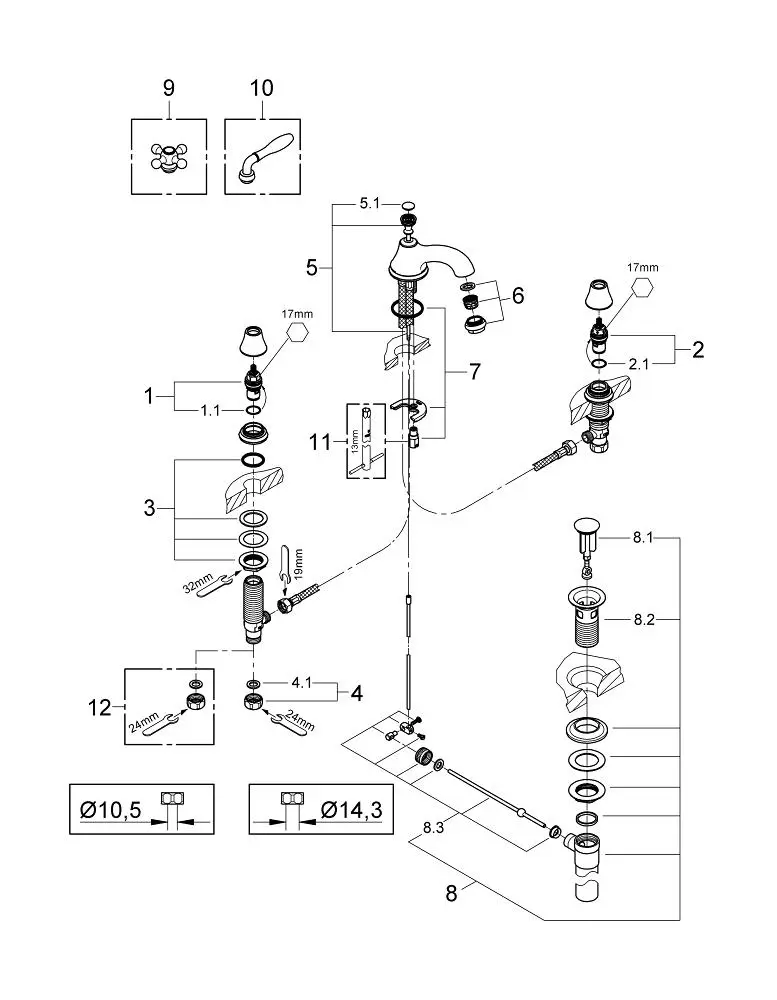
Repair Parts Diagram
Specifications
Download Spec Sheets
CAD Drawings 2D
CAD Drawings 2D
Installation
Customer Reviews
Q&A
Search
Trending Searches
Concetto Bathroom Products
LadyLux Kitchen Faucets
Shower Trim Kit
Towel Bar
Trending Products
The innovative GrohTherm SmartControl Triple Function Thermostatic Valve Trim is a clean, minimal...
The GROHE Zedra SmartControl Kitchen Faucet makes everyday tasks effortless. Equipped with the ex...
Sleek and sophisticated, the GROHE Essence 8-Inch Widespread Two-Handle Bathroom Faucet is a dist...
Smart and satisfying, the GROHE Blue Chilled and Sparkling 2.0 Kitchen Faucet gives you instant a...
Where to Buy
Find a nearby Store with GROHE products
Find a store
Where to Buy
Find a nearby Store with GROHE products
Find a store
Search
Trending Searches
Concetto Bathroom Products
LadyLux Kitchen Faucets
Shower Trim Kit
Towel Bar
Trending Products
The innovative GrohTherm SmartControl Triple Function Thermostatic Valve Trim is a clean, minimal...
The GROHE Zedra SmartControl Kitchen Faucet makes everyday tasks effortless. Equipped with the ex...
Sleek and sophisticated, the GROHE Essence 8-Inch Widespread Two-Handle Bathroom Faucet is a dist...
Smart and satisfying, the GROHE Blue Chilled and Sparkling 2.0 Kitchen Faucet gives you instant a...
Where to Buy
Find a nearby Store with GROHE products
Find a store
Where to Buy
Find a nearby Store with GROHE products
Find a store
Compared products
Mini Wideset
Model: 2034314
Finish: White
Select an additional product to add to the list.
Select an additional product to add to the list.
Select an additional product to add to the list.
Compare products
Clear all
Compare Products
Products
Availability
In Stock
Product Title
Model:
Add
Color/Finish
List Price
Metafield
Content